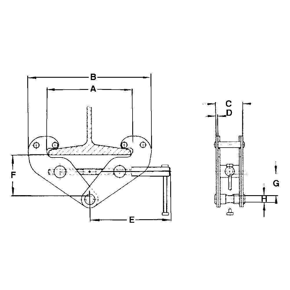
2 TON BEAM CLAMP 120615

Item#: HR1-120615

Call for Pricing

Customers who bought this item also purchased

To top