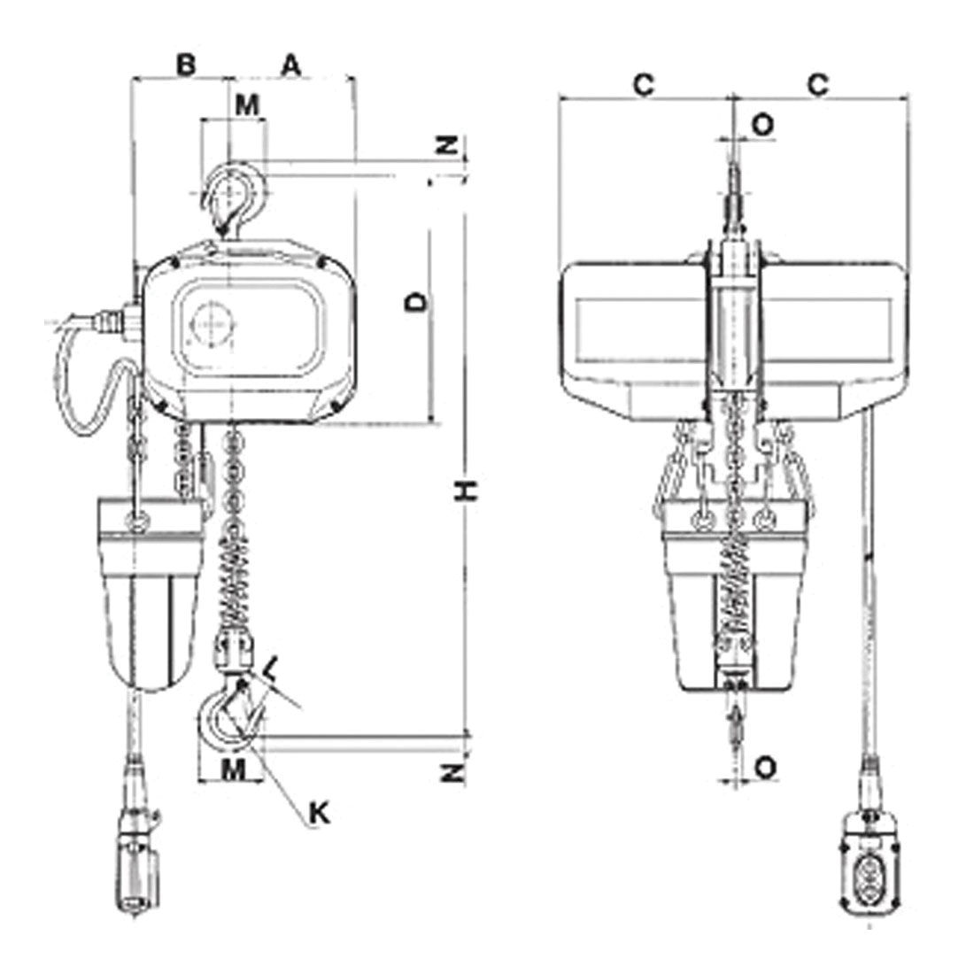
107206 5T 15' Lift 115/230v 1ph Electric Chain Hoist FA1-5S

Item#: MHG-107206

Appelez-nous pour un prix
Retour